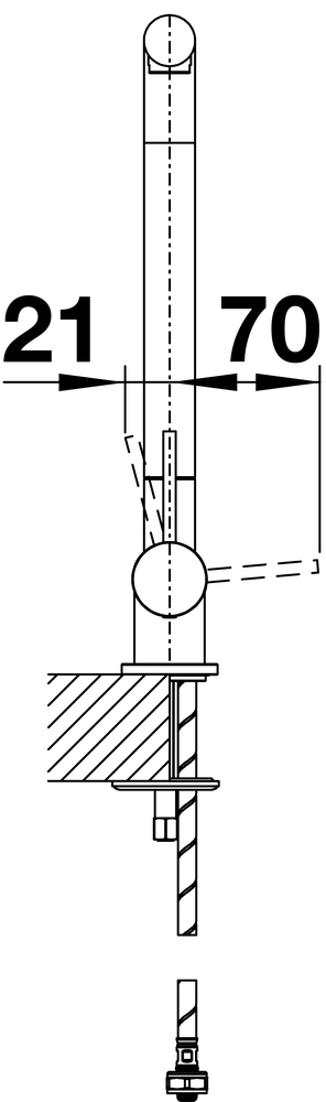
Jednopáková batéria LARESSA-F je prezentovaná vysoko funkčným dizajnom. Batéria je dimenzovaná na umiestnenie pred okno. Je typická svojím zakrivením v tvare písmena L pre zvýšenie pohodlia pri manipulácií. Vysoký výtok vody pre jednoduché napĺňanie hrncov a nádob. Dokonalé spracovanie je vo verzii nehrdzavejúcej ocele. Celková výška batérie LARESSA-F je 310 mm so šírkou 197 mm. Perlátor je vo výške 283 mm. Dodáva sa v chrómovom prevedení. Čistý dizajn prináša atraktívny nádych do modernej kuchyne.
- páková
- zmiešavacia
- otočná 360°
- tlaková
- sklopná
- výška po sklopení 65 mm
